توضیحات
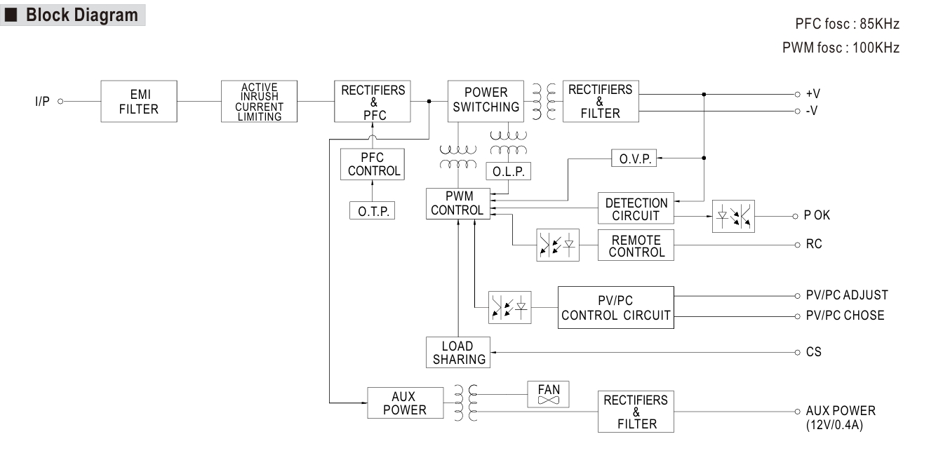
منبع تغذیه CSP-3000-250 از برند مینول (MEAN WELL)، یک پاور سوئیچینگ صنعتی محفظهدار با توان ۳۰۰۰ وات و خروجی 250 ولت DC (قابلیت تغییر 37.5 الی 250 ولت) با جریان نامی 12 آمپر است. این مدل برای کاربردهای توانبالا، سیستمهای لیزر، تجهیزات تست صنعتی و ماشینآلاتی که به دقت ولتاژ و قابلیت کنترل پیشرفته نیاز دارند طراحی شده است.
طراحی مقاوم فلزی و ابعاد استاندارد 278×177.8×63.5 میلیمتر امکان نصب آسان در رک یا تابلو صنعتی را فراهم میکند و سیستم خنکسازی با فن DC داخلی دارای کنترل هوشمند سرعت، پایداری دستگاه را در کارکردهای طولانیمدت تضمین میکند.
راندمان این مدل حداکثر 92.5٪ میباشد و عملکرد پایدار آن در محدوده دمایی ۲۰- تا ۶۵+ درجه سانتیگراد مطابق منحنی دریتینگ حفظ میشود. این سطح راندمان همراه با PFC فعال موجب افزایش طول عمر قطعات و کاهش تلفات توان در بارهای سنگین خواهد شد.
ورودی یونیورسال 180~264 ولت AC یا 254~370 ولت DC، امکان استفاده در شبکههای 220 ولت را بدون نیاز به تنظیم خاصی فراهم میسازد.
یکی از قابلیتهای مهم این مدل، خروجی قابل برنامهریزی در دو حالت PV (برنامهریزی ولتاژ) و PC (برنامهریزی جریان) است. در حالت PV ولتاژ خروجی در بازه 37.5 تا 250 ولت قابل تنظیم است و در حالت PC جریان خروجی در بازه 1.4 تا 17 آمپر برنامهریزی میشود. این قابلیت برای بارهای خاص مانند LEDهای صنعتی، لیزرهای پرتوان و تجهیزات تست بسیار کاربردی است و با اعمال سیگنال 0~10V یا PWM روی پینهای CN2 کنترل میشود.
از ویژگیهای پیشرفته این مدل میتوان به قابلیت موازیسازی فعال تا سه واحد با ظرفیت 250 ولت 32.4 آمپر در مجموع 8100 وات (۲+۱) اشاره کرد. در این حالت سیستم تقسیم جریان فعال، جریان بار را به شکل یکنواخت بین واحدها توزیع میکند و اختلاف ولتاژ واحدها باید کمتر از ۰.۲ ولت تنظیم شود. سیمکشی خروجی باید کوتاه، با سطح مقطع بالا و مشترک انجام شود. در حالت موازی، عملکرد PV/PC مطابق دیتاشیت محدود میشود و در بارهای کمتر از نصف جریان نامی، ممکن است تقسیم جریان کاملا متوازن نباشد.
این مدل مجهز به سیگنال Power-OK به دو صورت رلهای و خروجی TTL است که وضعیت سلامت ولتاژ خروجی را به سیستمهای کنترلی و PLC ارسال میکند. همچنین پورت Remote ON/OFF و خروجی کمکی AUX 12V/0.4A برای تغذیه مدارهای فرمان در اختیار کاربر قرار دارد.
از دیگر ویژگیهای مهم این منبع تغذیه میتوان به موارد زیر اشاره کرد:
حفاظت کامل در برابر اتصال کوتاه، اضافهبار (با دو حالت انتخابی)، اضافهولتاژ، افزایش دما و اشکال در فن | توان استندبای پایین | ضریب توان بالا PF>0.95@230Vac | طراحی صنعتی با Conformal Coating
میانگین عمر مفید (MTBF) این مدل بیش از 721 هزار ساعت بر اساس استاندارد Telcordia SR-332 است.
مطابق با استانداردهای بینالمللی:
UL62368-1، EN62368-1، EAC، GB4943.1
به عنوان عضوی از سری توانبالای CSP، این مدل در مقایسه با پاورهای صنعتی معمول، قابلیت برنامهریزی خروجی، تقسیم جریان فعال، سیگنالینگ کامل و سازگاری با بارهای پیچیده را ارائه میدهد و گزینهای ایدهآل برای تجهیزات لیزر، ماشینآلات تست، صنایع UV و کاربردهای توانبالا محسوب میشود.
ویژگیهای منبع تغذیه ولتاژ بالا CSP-3000-250
- توان نامی: 3000 وات
- خروجی: 250 ولت DC – جریان نامی 12 آمپر
- قابل تنظیم ولتاژ در بازه 37.5~250 ولت در حالت PV و قابل تنظیم جریان 1.4~17 آمپر در حالت PC
- حداکثر راندمان: تا 92.5٪
- ابعاد دستگاه: 278 × 177.8 × 63.5 میلیمتر (طراحی محفظهدار صنعتی با بدنه فلزی مقاوم)
- ورودی یونیورسال: 180~264VAC یا 254~370VDC (قابل استفاده مستقیم در برق 220 ولت صنعتی)
- دمای کاری وسیع: 20- تا 65+ درجه سانتیگراد (با کاهش توان در دماهای بالا طبق منحنی Derating)
- خنکسازی با فن داخلی: دارای فن DC با کنترل هوشمند سرعت برای پایداری در بارهای سنگین
- سیگنال Power OK: خروجی رلهای و سیگنال TTL برای مانیتورینگ وضعیت ولتاژ خروجی
- خروجی کمکی AUX: ولتاژ 12V/0.4A جهت تغذیه مدارات کنترلی و PLC
- قابلیت کنترل از راه دور: Remote ON/OFF از طریق کانکتور CN1
- قابلیت کار موازی: تا 3 واحد (حالت 2+1) با اشتراک جریان فعال : 250 ولت 32.4 آمپر
- حفاظتهای کامل:
اتصال کوتاه (Shut down و نیاز به ریاستارت) / اضافهبار (دو مد: محدودسازی جریان ثابت یا محدودسازی با خاموشی پس از 3 ثانیه) / اضافهولتاژ / افزایش دما / خرابی فن - طراحی مقاوم صنعتی با Conformal Coating جهت افزایش پایداری در محیطهای صنعتی
- استانداردهای ایمنی و EMC:
UL62368-1 / EN62368-1 / EAC / GB4943.1 / EN55032 / EN61000-6-2 / EN61000-3-2 / EN61000-3-3 - میانگین عمر مفید (MTBF): بیش از 721 هزار ساعت بر اساس استاندارد Telcordia SR-332
- مدت گارانتی: 5 سال گارانتی مطابق شرایط جهانی مینول
حفاظتها CSP-3000-250
اتصال کوتاه (Short Circuit Protection):
در صورت بروز اتصال کوتاه در خروجی، منبع تغذیه وارد حالت Shut Down میشود و برای جلوگیری از آسیب، خروجی بهطور کامل قطع میگردد. پس از برطرف شدن خطا، لازم است ورودی یکبار قطع و وصل شود تا دستگاه به حالت عادی بازگردد. این رفتار حفاظتی مطابق استاندارد خانواده CSP طراحی شده است تا از مدارهای قدرت در بارهای سنگین محافظت کامل انجام شود.
اضافهبار (Over Load Protection):
رفتار حفاظتی OLP در این مدل بهصورت انتخابی و دوحالته در نظر گرفته شده است:
-
در حالت پیشفرض (پین CN1 کوتاه):
پس از بروز اضافهبار، دستگاه ابتدا وارد محدودسازی جریان ثابت (Constant Current Limiting) میشود و در صورتی که شرایط اضافهبار بیش از ۳ ثانیه ادامه یابد، دستگاه بهصورت ایمن Shut Down میکند. برای برگشت، لازم است ورودی یکبار قطع و وصل شود. -
در حالت جایگزین (پین CN1 باز):
دستگاه در تمام مدت در حالت جریان محدود ثابت باقی میماند و خاموشی رخ نمیدهد. خروجی پس از برداشته شدن اضافهبار بدون نیاز به ریاستارت به حالت عادی بازمیگردد.
این ساختار دوحالته به کاربر امکان انتخاب رفتار محافظتی متناسب با نوع بار را میدهد.
افزایش ولتاژ خروجی (Over Voltage Protection):
در صورتی که ولتاژ خروجی از محدوده مجاز 265 تا 315 ولت DC فراتر رود، مدار OVP فعال شده و دستگاه بلافاصله وارد Shut Down میشود تا از تجهیزات متصل محافظت گردد. بازگشت دستگاه به حالت عادی نیازمند قطع و وصل برق ورودی است.
افزایش دما (Over Temperature Protection):
اگر دمای داخلی از حد مجاز عبور کند، مدار حفاظتی O.T.P فعال شده و خروجی بهطور کامل قطع میشود. پس از کاهش دما به محدوده نرمال، دستگاه بهصورت خودکار بازیابی میشود یا در برخی شرایط طبق دیتاشیت نیاز به یک ریاستارت ورودی دارد. این حفاظت برای جلوگیری از آسیب به اجزای توان بالا و فن داخلی اهمیت زیادی دارد.
خرابی فن (Fan Failure Protection):
در صورت توقف یا خرابی فن داخلی، حفاظت اختصاصی Fan Fail فعال شده و دستگاه برای جلوگیری از آسیب حرارتی وارد حالت Shut Down میشود. عملکرد دستگاه پس از رفع مشکل فن قابل بازیابی است.
افزایش یا نوسان ناگهانی جریان هجومی (Inrush Current Protection):
در لحظه روشن شدن دستگاه، مدار محدودکننده جریان هجومی فعال شده و از فشار ناگهانی بر روی قطعات کلیدزنی و فیوز جلوگیری میکند. مقدار جریان هجومی لحظهای در 230VAC حدود 60 آمپر (Cold Start) است.
جریان نشتی (Leakage Current):
میزان نشتی جریان دستگاه کمتر از 0.3mA در 240VAC است که سطح ایمنی بالایی را برای تجهیزات متصل، تابلوهای برق و اپراتورها تضمین میکند.
قابلیتها – CSP-3000-250
در این بخش به توضیحات مختصر ویژگیهای منبع تغذیه CSP-3000-250 از برند مینول (MEAN WELL) میپردازیم.
قابلیت برنامهریزی ولتاژ و جریان (PV / PC Mode)
• این مدل امکان تنظیم ولتاژ خروجی در بازه 37.5 تا 250 ولت DC را از طریق حالت PV و مقاومت تنظیمی (SVR2) فراهم میکند.
• در حالت PC نیز کاربر میتواند جریان خروجی را در بازه 1.4 تا 17 آمپر تنظیم کند.
• این قابلیت برای جبران افت ولتاژ، کنترل جریان بارهای حساس، و تنظیم دقیق خروجی متناسب با دستگاههای لیزر و LEDهای صنعتی کاربرد دارد.
• امکان کنترل ولتاژ یا جریان توسط سیگنال خارجی 0~10V یا PWM نیز فراهم است.
قابلیت تنظیم انعطافپذیر ولتاژ یا جریان برای بارهای صنعتی توانبالا
سیگنال اعلام وضعیت خروجی (Power OK Signal)
• منبع تغذیه CSP-3000-250 مجهز به دو نوع سیگنال Power OK شامل خروجی رلهای و خروجی TTL است.
• در حالت عادی، سیگنال Power OK در وضعیت سالم (ON/Low) قرار دارد و در صورت افت یا قطع ولتاژ خروجی، وضعیت آن تغییر میکند.
• سیگنال رلهای دارای توان سویچینگ تا 10 وات است و سیگنال TTL تا 10mA/30V قابل استفاده میباشد.
• این سیگنال برای مانیتورینگ سلامت ولتاژ در سیستمهای صنعتی، کنترلرهای لیزر و PLC کاربرد دارد.
سیگنال هشدار Power OK با امکان پایش بلادرنگ در سیستمهای صنعتی
قابلیت کنترل از راه دور (Remote ON/OFF)
• این مدل قابلیت روشن و خاموش کردن از طریق ورودی کنترلی Remote ON/OFF را دارد.
• کاربر با اتصال یک کلید یا خروجی دیجیتال PLC میتواند دستگاه را بدون نیاز به قطع برق ورودی کنترل کند.
کنترل نرم و یکپارچه پاور در تابلوهای هوشمند و سیستمهای اتوماسیون
قابلیت کار موازی (Parallel Operation)
• این مدل قابلیت اتصال تا 3 واحد (2+1) را برای افزایش توان خروجی دارد.
• عملکرد موازی بهصورت Active Current Sharing انجام میشود تا جریان بین واحدها هوشمند و یکنواخت توزیع شود.
• در این حالت توان کل سیستم میتواند تا 8100 وات افزایش یابد.
شمای کلی عملکرد:
حداکثر 3 واحد میتوانند با یکدیگر اشتراک جریان برقرار کنند.
برای دقت بالاتر در تقسیم جریان، پینهای CS+ / CS- میان واحدها متصل میشوند.
سیمکشی خروجی باید کوتاه، ضخیم و با مقاومت پایین باشد تا اختلاف ولتاژ و جریان به حداقل برسد.
فرمول محاسبه جریان کل طبق دیتاشیت:
Total Current ≈ Rated Current × Number of Units × 0.9
نمونه محاسبه:
12A × 3 × 0.9 ≈ 32.4A
الزامات نصب در حالت موازی:
• اختلاف ولتاژ خروجی واحدها باید کمتر از 0.2 ولت تنظیم شود.
• کانکتورهای اشتراک جریان باید طبق نقشه دیتاشیت متصل شوند.
• باسبار مشترک برای اتصال خروجیها توصیه میشود.
• برای افزایش ایمنی، استفاده از فیوز یا بریکر جداگانه در خروجی هر واحد ضروری است.
• اتصال صحیح زمین حفاظتی (FG) برای کاهش نویز و نوسانات الزامی است.
افزایش توان، پایداری و قابلیت Redundancy در کاربردهای صنعتی سنگین
راندمان بالا و خنکسازی با فن داخلی
• سیستم خنکسازی دستگاه از طریق فن DC هوشمند انجام میشود که سرعت آن براساس دما و بار تنظیم میشود.
• این طراحی باعث حفظ راندمان بالا تا 92.5٪ و عملکرد پایدار در دمای محیطی 20- تا 65+ درجه میشود.
• کنترل سرعت فن، نویز صوتی و استهلاک را کاهش میدهد و طول عمر دستگاه را افزایش میدهد.
طراحی پایدار با راندمان بالا و خنکسازی هوشمند
حفاظتهای هوشمند (Smart Protections)
• اتصال کوتاه: Shut Down با نیاز به ریاستارت پس از رفع خطا
• اضافهبار: دو حالت انتخابی (جریان محدود ثابت، یا جریان محدود + خاموشی پس از 3 ثانیه)
• افزایش ولتاژ خروجی: حدود 265 ~ 315 VDC → Shut Down
• افزایش دما: حفاظت حرارتی (OTP) با بازیابی خودکار
• خرابی فن: قطع خروجی و ورود به وضعیت حفاظتی
• جریان هجومی: حداکثر 60A در 230VAC
• نشتی جریان: کمتر از 0.3mA در 240VAC
سیستم حفاظت چندمرحلهای برای عملکرد مطمئن در شرایط بحرانی
خروجی کمکی و عملکردهای کنترلی
• این مدل دارای خروجی کمکی 12V / 0.4A برای تغذیه مدارات فرمان است.
• امکان انتخاب حالت حفاظت اضافهبار از طریق جامپر CN1 فراهم است.
• ورودیها و سیگنالهای کنترلی دستگاه مطابق استاندارد صنعتی طراحی شدهاند.
استانداردها و کیفیت ساخت
• دارای گواهیها و استانداردهای بینالمللی:
UL62368-1 / EN62368-1 / EAC / GB4943.1 / EN55032 / EN61000-6-2 / EN61000-3-2 / EN61000-3-3
• طراحی صنعتی با Conformal Coating برای مقاومت بالا در برابر رطوبت، گردوغبار و شرایط سخت
• عملکرد پایدار در محیطهای صنعتی و تجهیزات لیزر
• تستهای کامل EMC مطابق استانداردهای جهانی
گارانتی و خدمات
منبع تغذیه CSP-3000-250 با پنج سال گارانتی رسمی مینول عرضه میشود و پشتیبانی کامل خدمات پس از فروش را شامل میگردد.
دانلود فایلهای مربوط به منبع تغذیه CSP-3000-250
| سری CSP-3000-250 | دانلود |
| مشخصات فنی CSP-3000 | ![]() |
| گزارش فنی CSP-3000-250 | ![]() |
| دفترچه راهنما | ![]() |
جدول کامل محصول سری های CSP-3000-250
| خروجی مطلوب | لینک مشاهده |
| 120 ولت / 25 آمپر | CSP-3000-120 |
| 250 ولت / 12 آمپر | CSP-3000-250 |
| 400 ولت / 7.5 آمپر | CSP-3000-400 |
برای آشنایی بیشتر با نسل جدید منابع تغذیه مینول و بررسی مشخصات کامل خانواده CSP-3000، میتوانید خبر معرفی این محصول را در وبسایت مینول ایران مطالعه کنید:
مشاهده خبر معرفی خانواده CSP-3000 در وبسایت مینول ایران
















نقد و بررسیها
هنوز بررسیای ثبت نشده است.